您的位置:首页 > 研究成果 > 专利 > 2012年授权发明专利

采用榫卯结构的管道电熔接头及电熔焊接方法

编辑:admin  时间:2013-02-12 21:33:14   访问次数:3698

专利名称: 采用榫卯结构的管道电熔接头及电熔焊接方法
专利类型:
发明专利,ZL 2010 1 05 23483.5
专利授予单位: 中华人民共和国国家知识产权局
专利权人: 浙江大学
发明人: 徐平,施建峰,师俊,饶静
授权公告日: 2012年8月22日

 

专利简介:

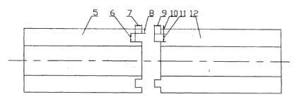
       本发明涉及塑料管道或塑料复合管道焊接领域,旨在提供采用榫卯结构的管道电熔接头及电熔焊接方法。该管道电熔接头包括分别连接于两段管材的两个相对的管道端头,在所述两个管道端头的端面上,其中一个端面上设置环形凸出部,另一个端面上设置环形凹槽;所述凸出部与凹槽尺寸和形状相匹配,当凸出部进入凹槽后两上端面紧密贴合。该焊接方法主要是在电熔套筒的中间冷焊区埋设电阻丝。通过使用本发明中管道电熔接头内部不存在未融合区,相比传统的电熔接头具有更好的结构连续性,机械性能更好。可以避免在内压作用下由于套筒内冷焊区的存在而产生应力集中,进而发生裂纹贯穿套筒而失效。