您的位置:首页 > 研究成果 > 专利 > 2015年授权发明专利

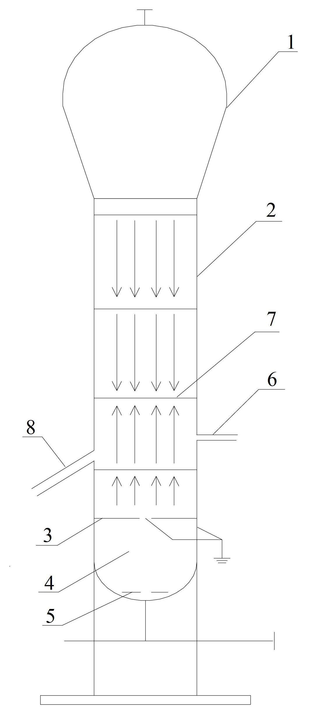
采用电场控制颗粒分布的方法及气相聚合流化床反应器

编辑:admin  时间:2016-07-29 09:51:49   访问次数:2650

专利名称: 采用电场控制颗粒分布的方法及气相聚合流化床反应器
专利类型:
发明专利,ZL 201210230862.4
专利授予单位: 中华人民共和国国家知识产权局
专利权人: 浙江大学
发明人:

王靖岱,朱子川,黄正梁,蒋斌波,阳永荣,王宇良,董克增

授权公告日: 2015年1月21日

 

专利简介:

        本发明公开了一种采用电场控制气相聚合反应体系中颗粒分布的方法,通过施加电场控制颗粒分布,电场包括电场方向与气体流动方向平行的第一电场和第二电场,第一电场和第二电场的电场方向相反,从而调控颗粒运动,特别是细颗粒,进而可以达到选择性出料,同时可以减少小颗粒的夹带和减小气泡大小。本发明还公开了一种实现该方法的气相聚合流化床反应器,包括基座、中部设有催化剂进料口的直筒反应段以及扩大段,直筒反应段的一端与基座相连,另一端与扩大段相连,直筒反应段靠近基座一侧依次设有气体预分布器、气体混合室以及气体分布板,直筒反应段内设有若干个电极。该反应器易于实现,并能够将气泡打碎,提高流化质量。