您的位置:首页 > 研究成果 > 专利 > 2015年授权发明专利

流化床聚合反应器

编辑:admin  时间:2016-07-29 10:11:20   访问次数:2584

专利名称: 流化床聚合反应器
专利类型:
发明专利,ZL 201110290787.6
专利授予单位: 中华人民共和国国家知识产权局
专利权人: 中国石油化工集团公司,浙江大学,中国石化工程建设有限公司
发明人:

吴文清,阳永荣,骆广海,王靖岱,蒋斌波,王树芳,韩国栋

授权公告日: 2015年2月25日

 

专利简介:

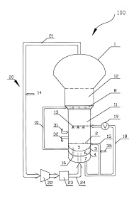
        本发明提供了一种流化床聚合反应器,包括:塔体,其中设有液相分布器和位于液相分布器上方的气相分布器,从而利用气相分布器将反应区域分成第一区域和第二区域;以及循环单元,用于将源自于塔体顶部区域的气体物质以气液混合物的形式循环回到底部区域。其中,气液混合物在底部区域内进行气液分离,所得的气相输出到气相分布器中并由此进入第二区域,而所得的液相经液相分布器进入第一区域,从而使得第一区域内的温度低于第二区域内的温度。由此可以生产出分子量分布较宽的聚合物。