您的位置:首页 > 研究成果 > 专利 > 2015年授权发明专利

喷动流化床反应器及其聚合物制备方法

编辑:admin  时间:2016-07-29 10:26:05   访问次数:3153

专利名称: 喷动流化床反应器及其聚合物制备方法
专利类型:
发明专利,ZL 201310065490.9
专利授予单位: 中华人民共和国国家知识产权局
专利权人: 浙江大学
发明人:

王靖岱,周业丰,黄正梁,顾玉彬,阳永荣,廖祖维,蒋斌波,訾灿,杨勇,柳莺

授权公告日: 2015年3月25日

 

专利简介:

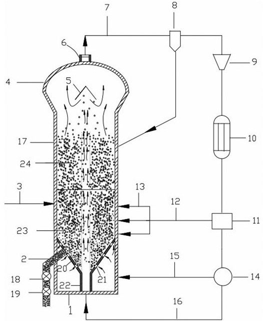
        本发明公开了一种喷动流化床反应器及其聚合物制备方法。封闭外壳设有相连接的扩大段、直筒段,扩大段顶部设有气体出口,扩大段内部设有锥形挡板,直筒段侧壁上设有催化剂进料口,直筒段下部设有缩径段,缩径段上设有出料管线、辅助气体入口,缩径段底部设有喷动流化气入口;气体出口、第一管线,旋风分离器、压缩机、换热器、气液分离器、分流器、第四管线与喷动流化器入口顺次相连,旋风分离器底部与直筒段相连,气液分离器、第二管线、液体喷射器、直筒段顺次相连,液体喷入使反应器存在第一反应区域和第二反应区域。本发明的喷动气体和辅助气体进行合理分配,对反应器中的颗粒团聚、结块现象实现调控,并能生产出宽分子量分布的聚合物产品。