您的位置:首页 > 研究成果 > 专利 > 2015年授权发明专利

一种喷动流化床- 流化床复合反应器及其聚合物制备方法

编辑:admin  时间:2016-08-03 10:45:12   访问次数:4460

专利名称: 一种喷动流化床- 流化床复合反应器及其聚合物制备方法
专利类型:
发明专利,ZL 201310065147.4
专利授予单位: 中华人民共和国国家知识产权局
专利权人: 浙江大学
发明人:

王靖岱,周业丰,黄正梁,顾玉彬,阳永荣,廖祖维,蒋斌波,訾灿,杨勇,柳莺

授权公告日: 2015年5月27日

 

专利简介:

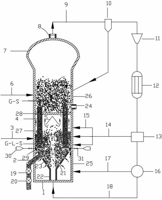
        本发明公开了一种喷动流化床- 流化床复合反应器及其聚合物制备方法。反应器包括扩大段、直管段圆筒、缩径段,直管段圆筒中部设有气体分布板,其上、下分别为流化床和喷动流化床,气体分布板下方设有锥形挡板,气体分布板设有固体下料管,下料管下方设有气体分布件,其与气体源相连,缩径段上设有出料管线、辅助流化气入口,底部设有喷动流化气入口,出料管线上设有第一、第二阀门,气体出口、第一管线、旋风分离器、压缩机、换热器、气液分离器、分流器、第四管线、喷动流化气入口相连,气液分离器、第二管线、液体喷射器、喷动流化床顺次相连。喷动流化床和流化床中生产高、低分子量聚合物,进一步得到宽分子量分布产品,产品结构及性能优异。