您的位置:首页 > 研究成果 > 专利 > 2015年授权发明专利

一种流化床反应器

编辑:admin  时间:2016-08-03 11:29:20   访问次数:2623

专利名称: 一种流化床反应器
专利类型:
发明专利,201310572519.2
专利授予单位: 中华人民共和国国家知识产权局
专利权人: 浙江大学
发明人:

王嘉骏,张永俊,冯连芳,顾雪萍

授权公告日: 2015年8月12日

 

专利简介:

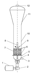
        本发明公开了一种流化床反应器,包括集气段、直筒段和扩大段,所述集气段与直筒段间通过气体分布板隔开,直筒段内设有转轴和搅拌桨叶,所述直筒段内还设有挡板,所述挡板与搅拌桨叶相配合,用以剪切物料。本发明提供了一种带有搅拌体系的流化床反应器,无需添加辅助的惰性颗粒,可以防止高粘性聚合物颗粒间的团聚以及聚合物颗粒粘附于反应器的内壁,本流化床反应器可以产生有效的搅拌混合作用并改进高粘性聚合物颗粒的流化稳定性。