您的位置:首页 > 研究成果 > 专利 > 2016年授权发明专利
烯烃聚合装置和烯烃聚合方法
编辑:admin 时间:2019-02-21 12:47:53 访问次数:3136
| 专利名称: | 烯烃聚合装置和烯烃聚合方法 |
专利类型: | 发明专利,ZL201210060969.9 |
| 专利授予单位: | 中华人民共和国国家知识产权局 |
| 专利权人: | 中国石油化工股份有限公司,浙江大学 |
| 发明人: | 阳永荣,吴文清,骆广海,王靖岱,孙婧元,韩国栋,张瑞琪,黄正梁,王树芳,杜焕军,蒋斌波,廖祖维,楼佳明,张擎,中国石油化工股份有限公司王宇良 |
| 授权公告日: | 2016年03月30日 |
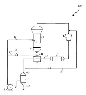
专利简介: 本发明涉及一种烯烃聚合装置,属于化工工艺领域。其包括:流化床反应器,处于分布板下方的第一部分和处于分布板上方的第二部分;连接流化床反应器的第二部分和储罐的引出管路,在引出管路中依次设置有压缩机、冷凝器和气液分离器,该气液分离器用于对冷凝后的循环气流进行气液分离,气液分离器的气流支管与流化床反应器的第一部分相通,气液分离器的液流支管与储罐相通;与储罐的出口连接的流体输送设备,流体输送设备的第一流出管路与流化床反应器的第二部分相通,而第二流出管路与流化床反应器的第一部分相通。本发明还涉及生产聚烯烃的方法。本发明的装置和方法具有聚烯烃生产能力高,而且能防止在流化床反应器中产生积液的优点。 
|