您的位置:首页 > 研究成果 > 专利 > 2016年授权发明专利
用于正丁烷氧化制顺酐的固定床反应器的气体预分布器
编辑:admin 时间:2019-02-21 12:49:37 访问次数:2538
| 专利名称: | 用于正丁烷氧化制顺酐的固定床反应器的气体预分布器 |
专利类型: | 发明专利,ZL201310018157.2 |
| 专利授予单位: | 中华人民共和国国家知识产权局 |
| 专利权人: | 浙江大学 |
| 发明人: | 黄正梁,陈楠,杨遥,廖祖维,蒋斌波,王靖岱,阳永荣,郑海俊,娄俊毅,冯翔,陆飞鹏,杨勇,柳莺 |
| 授权公告日: | 2016年04月13日 |
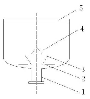
专利简介: 本发明公开了一种用于正丁烷氧化制顺酐的固定床反应器及其方法。反应器本体一端设有气体进口,反应器本体一端内设有气体预分布器,并与气体进口相连,反应器本体另一端设有出料口,反应器本体侧壁设有换热介质熔盐出口、换热介质熔盐进口,反应器本体内设有多根催化剂装填管,多根催化剂装填管两端分别设有气体分布板,其中一分布板与气体进口之间设有第二均化空间,另一分布板与出料口之间设有第一均化空间,多根催化剂装填管之间设有换热介质熔盐;气体预分布器包括水平导流片、导流管、锥形帽。本发明可以减少低气速区域的面积,并且改善对分布板局部冲击不均的影响,提高操作的稳定性,可应用于顺酐工业生产中。 
|