您的位置:首页 > 研究成果 > 专利 > 2016年授权发明专利
一种烯烃聚合流化床反应装置及烯烃聚合方法
编辑:admin 时间:2019-02-21 12:47:09 访问次数:2174
| 专利名称: | 一种烯烃聚合流化床反应装置及烯烃聚合方法 |
专利类型: | 发明专利,ZL201210405013.8 |
| 专利授予单位: | 中华人民共和国国家知识产权局 |
| 专利权人: | 中国石油化工股份有限公司,中国石化工程建设有限公司,浙江大学 |
| 发明人: | 王靖岱,苏洪,董克增,黄正梁,阳永荣,高静,蒋斌波 |
| 授权公告日: | 2016年06月15日 |
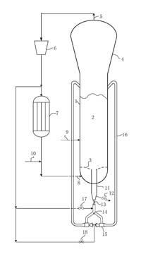
专利简介: 本发明是一种烯烃聚合流化床反应装置及烯烃聚合方法。本发明的气体分布板(3)由周边的环状孔板区(19)、中心的筒状下料区(21)、以及连接环状孔板区(19)和筒状下料区(21)的锥型区(20)三部分组成;所述的循环回路由垂直立管(11),气固喷射器(15)和气力输送管(16)构成。所述的循环回路的数量为2-8 个;所述的循环回路沿流化床轴线对称分布。本发明克服了现有技术中循环回路侧面单管进料导致的不均匀性以及锥形分布板侧面出气容易产生死区等缺陷,为烯烃聚合流化床反应装置及烯烃聚合方法带来了独创而有益的革新。

|