您的位置:首页 > 研究成果 > 专利 > 2016年授权发明专利
一种检测Shell汽化炉炉渣临界粘度温度的装置
编辑:admin 时间:2019-02-21 12:51:20 访问次数:2807
| 专利名称: | 一种检测Shell汽化炉炉渣临界粘度温度的装置 |
专利类型: | 发明专利,ZL201310290586 .5 |
| 专利授予单位: | 中华人民共和国国家知识产权局 |
| 专利权人: | 浙江大学,杭州双安科技有限公司 |
| 发明人: | 王靖岱,汪兵,宋迪,黄正梁,蒋斌波,阳永荣,楼佳明,叶健,朱子川,王方 |
| 授权公告日: | 2016年08月24日 |
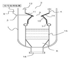
专利简介: 本发明公开了一种检测Shell气化炉炉渣临界粘度温度的方法及装置,所述的Shell煤炭气化炉包括压力壳,压力壳内设有气化器壁围成的气化室,所述的方法包括:测量炉渣温度,接收气化器壁发出的振动信号并进行二阶Daubechies小波分解,选取Hurst值小于0 .5的小波频段作为特征频段,考察特征频段的能量分率Rs随炉渣温度变化的关系曲线,当Rs快速减少并开始趋于零,此时所对应的温度即为炉渣临界粘度温度。本发明方法不需另设振动源,振动信号是流体在运动过程中自身产生的,安全环保,测量简单方便,测量误差小。 
|